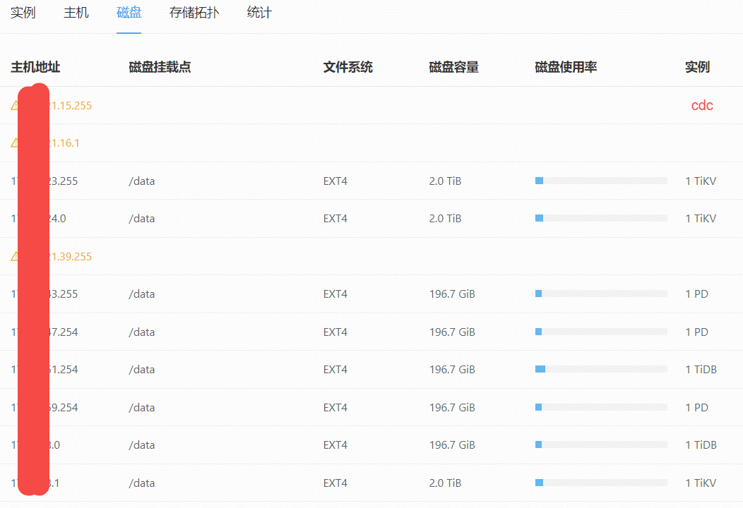
PD dashboard cdc节点磁盘信息显示问题

【 TiDB 使用环境】生产环境
【 TiDB 版本】8.1.1
【复现路径】安装部署
【遇到的问题:问题现象及影响】dashboard中TICDC节点的磁盘信息获取不到
【资源配置】进入到 TiDB Dashboard -集群信息 (Cluster Info) -主机(Hosts) 截图此页面
【附件:截图/日志/监控】


我看了下,应该不显示cdc的磁盘吧